OEM ЗАПЧАСТИ

  info@automotohub.ru   8 (916) 294-84-77
  О Компании   Оплата и Доставка   Помощь   Обратная связь

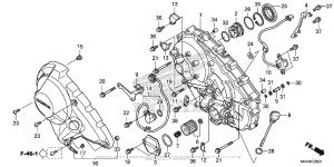
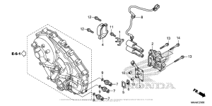
Запчасти для мотоциклов Honda NC700X (DCT)

Год: 2017  •  Код модели: NC700XD AC  •  Объем двигателя: 700
Запчасти для мотоциклов Honda NC700X (DCT)
Выбирайте узел вашей техники:


{modalWnd}