OEM ЗАПЧАСТИ

  info@automotohub.ru   8 (916) 294-84-77
  О Компании   Оплата и Доставка   Помощь   Обратная связь

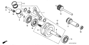
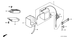
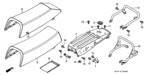
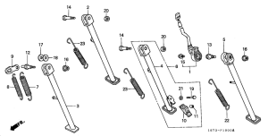
Запчасти для мотоциклов Honda MT50F

Год: 1990  •  Код модели: MT50FL  •  Объем двигателя: 50
Запчасти для мотоциклов Honda MT50F
{modalWnd}