OEM ЗАПЧАСТИ

  info@automotohub.ru   8 (916) 294-84-77
  О Компании   Оплата и Доставка   Помощь   Обратная связь

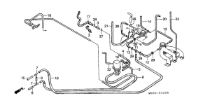
Запчасти для мотоциклов Honda GL1500 Gold Wing

Год: 1988  •  Код модели: GL1500 AC  •  Объем двигателя: 1500
Запчасти для мотоциклов Honda GL1500 Gold Wing
Выбирайте узел вашей техники:


{modalWnd}