OEM ЗАПЧАСТИ

  info@automotohub.ru   8 (916) 294-84-77
  О Компании   Оплата и Доставка   Помощь   Обратная связь

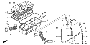
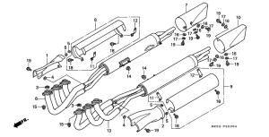
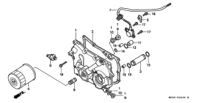
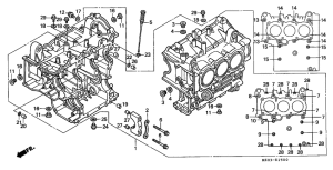
Запчасти для мотоциклов Honda GL1500C Valkyrie

Год: 1998  •  Код модели: GL1500C AC  •  Объем двигателя: 1500
Запчасти для мотоциклов Honda GL1500C Valkyrie
Выбирайте узел вашей техники:


{modalWnd}