OEM ЗАПЧАСТИ

  info@automotohub.ru   8 (916) 294-84-77
  О Компании   Оплата и Доставка   Помощь   Обратная связь

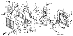
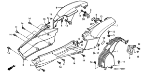
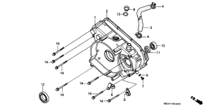
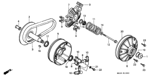
Запчасти для мотоциклов Honda FL400R

Год: 1990  •  Код модели: FL400RL  •  Объем двигателя: 400
Запчасти для мотоциклов Honda FL400R
{modalWnd}