OEM ЗАПЧАСТИ

  info@automotohub.ru   8 (916) 294-84-77
  О Компании   Оплата и Доставка   Помощь   Обратная связь

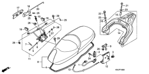
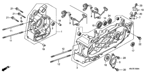
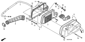
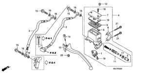
Запчасти для мотоциклов Honda FES150 S-Wing

Год: 2009  •  Код модели: FES1509  •  Объем двигателя: 150
Запчасти для мотоциклов Honda FES150 S-Wing
Выбирайте узел вашей техники:


{modalWnd}