OEM ЗАПЧАСТИ

  info@automotohub.ru   8 (916) 294-84-77
  О Компании   Оплата и Доставка   Помощь   Обратная связь

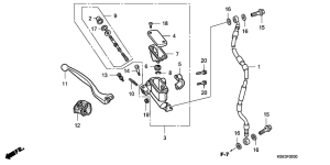
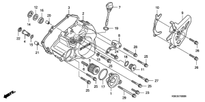
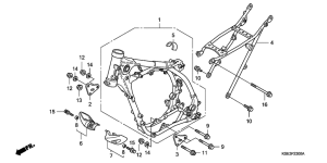
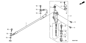
Запчасти для мотоциклов Honda CRF150RB

Год: 2009  •  Код модели: CRF150RB9  •  Объем двигателя: 150
Запчасти для мотоциклов Honda  CRF150RB
{modalWnd}