OEM ЗАПЧАСТИ

  info@automotohub.ru   8 (916) 294-84-77
  О Компании   Оплата и Доставка   Помощь   Обратная связь

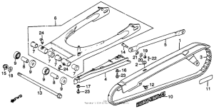
Запчасти для мотоциклов Honda CM250

Год: 1983  •  Код модели: CM250C AC  •  Объем двигателя: 250
Запчасти для мотоциклов Honda CM250
{modalWnd}