OEM ЗАПЧАСТИ

  info@automotohub.ru   8 (916) 294-84-77
  О Компании   Оплата и Доставка   Помощь   Обратная связь

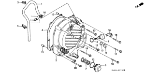
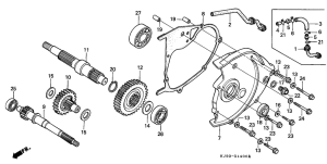
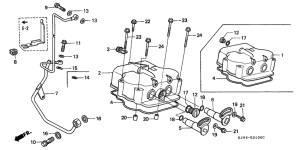
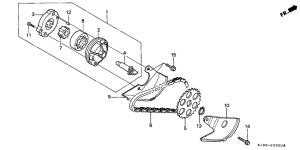
Запчасти для мотоциклов Honda CH125 Spacy

Год: 1986  •  Код модели: CH125G  •  Объем двигателя: 125
Запчасти для мотоциклов Honda CH125 Spacy
{modalWnd}