OEM ЗАПЧАСТИ

  info@automotohub.ru   8 (916) 294-84-77
  О Компании   Оплата и Доставка   Помощь   Обратная связь

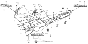
Запчасти для мотоциклов Honda CBR600F2

Год: 1993  •  Код модели: CBR600F2 AC  •  Объем двигателя: 600
Запчасти для мотоциклов Honda  CBR600F2
Выбирайте узел вашей техники:


{modalWnd}