OEM ЗАПЧАСТИ

  info@automotohub.ru   8 (916) 294-84-77
  О Компании   Оплата и Доставка   Помощь   Обратная связь

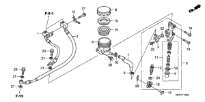
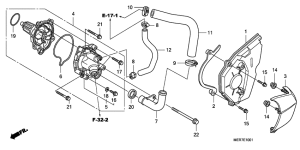
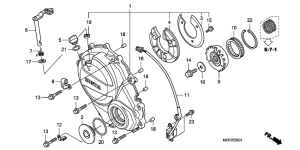
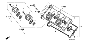
Запчасти для мотоциклов Honda CBF600 (Naked, ABS)

Год: 2008  •  Код модели: CBF600NA8  •  Объем двигателя: 600
Запчасти для мотоциклов Honda CBF600 (Naked, ABS)
Выбирайте узел вашей техники:


{modalWnd}