OEM ЗАПЧАСТИ

  info@automotohub.ru   8 (916) 294-84-77
  О Компании   Оплата и Доставка   Помощь   Обратная связь

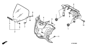
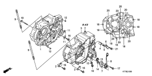
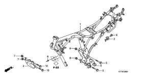
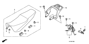
Запчасти для мотоциклов Honda CBF150

Год: 2007  •  Код модели: CBF150SH7  •  Объем двигателя: 150
Запчасти для мотоциклов Honda CBF150
Выбирайте узел вашей техники:


{modalWnd}