OEM ЗАПЧАСТИ

  info@automotohub.ru   8 (916) 294-84-77
  О Компании   Оплата и Доставка   Помощь   Обратная связь

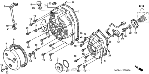
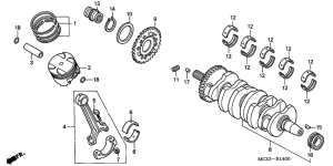
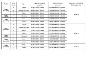
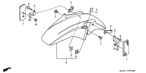
Запчасти для мотоциклов Honda CB900F 919

Год: 2007  •  Код модели: CB900F AC  •  Объем двигателя: 900
Запчасти для мотоциклов Honda CB900F 919
Выбирайте узел вашей техники:


{modalWnd}