OEM ЗАПЧАСТИ

  info@automotohub.ru   8 (916) 294-84-77
  О Компании   Оплата и Доставка   Помощь   Обратная связь

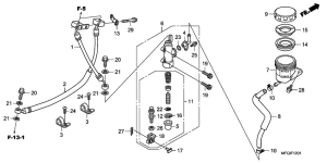
Запчасти для мотоциклов Honda CB600F (ABS) Hornet

Год: 2010  •  Код модели: CB600FA3A  •  Объем двигателя: 600
Запчасти для мотоциклов Honda CB600F (ABS) Hornet
Выбирайте узел вашей техники:


{modalWnd}