OEM ЗАПЧАСТИ

  info@automotohub.ru   8 (916) 294-84-77
  О Компании   Оплата и Доставка   Помощь   Обратная связь

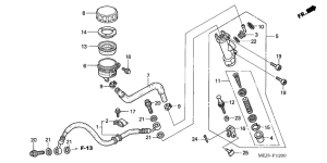
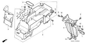
Запчасти для мотоциклов Honda CB1300S Super Bol d'Or

Год: 2005  •  Код модели: CB1300S5  •  Объем двигателя: 1300
Запчасти для мотоциклов Honda CB1300S Super Bol d'Or
Выбирайте узел вашей техники:


{modalWnd}