OEM ЗАПЧАСТИ

  info@automotohub.ru   8 (916) 294-84-77
  О Компании   Оплата и Доставка   Помощь   Обратная связь

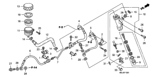
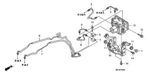
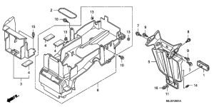
Запчасти для мотоциклов Honda CB1300 (ABS) Super Four

Год: 2007  •  Код модели: CB1300A7  •  Объем двигателя: 1300
Запчасти для мотоциклов Honda CB1300 (ABS) Super Four
Выбирайте узел вашей техники:


{modalWnd}