OEM ЗАПЧАСТИ

  info@automotohub.ru   8 (916) 294-84-77
  О Компании   Оплата и Доставка   Помощь   Обратная связь

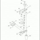
FLHRSEI2 1PGE CVO ROAD KING (2003) (2003)

FLHRSEI2 1PGE CVO ROAD KING (2003) (2003)
Выбирайте узел вашей техники:


{modalWnd}