OEM ЗАПЧАСТИ

  info@automotohub.ru   8 (916) 294-84-77
  О Компании   Оплата и Доставка   Помощь   Обратная связь
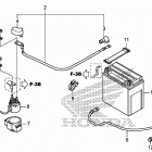
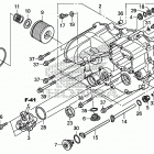
Выбирайте узел вашей техники:
SXS700M4D Bed


{modalWnd}