OEM ЗАПЧАСТИ

  info@automotohub.ru   8 (916) 294-84-77
  О Компании   Оплата и Доставка   Помощь   Обратная связь

Drive system - i994590

для Polaris B994590 SLTX
Polaris
Drive system - i994590
#кодцена
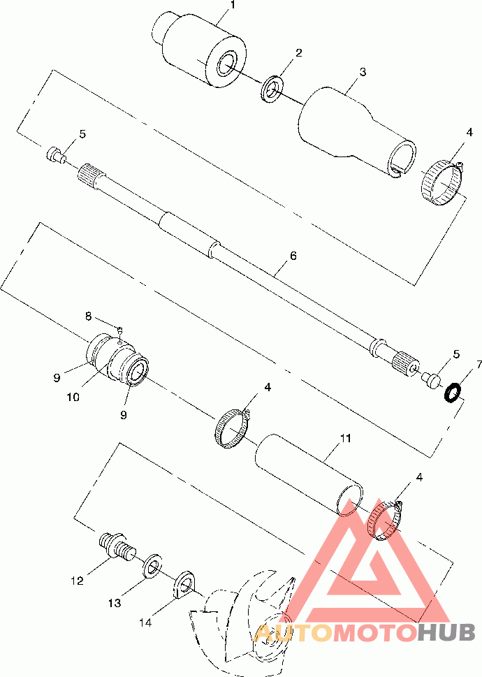
1
1060119
Деталь Coupler Asm, Drive
узнать
цену
узнать цену
2
5410735
Кольцо (отпускается по 10 шт)
узнать
цену
узнать цену
3
5432129
Деталь Shroud, Coupler
узнать
цену
узнать цену
4
7080870
Деталь Clamp-hose, 2.25x.50, Ss (10)
узнать
цену
узнать цену
5
5410663
Амортизатор ударов
узнать
цену
узнать цену
6
6230253
Деталь Shaft-drive, 24.375", Hd
узнать
цену
узнать цену
7
5410731
Кольцо (отпускается по 10шт)
узнать
цену
узнать цену
8
7080629
Деталь Fitting, Lube.
узнать
цену
узнать цену
9
3610040
Уплотнение
узнать
цену
узнать цену
10
1341115
Деталь Housing Asm,bearing (incl. 8, 9)
узнать
цену
узнать цену
11
5411027
Деталь Hose, Brg.hsg.
узнать
цену
узнать цену
12
5432298
Деталь Hsg, Shaft, Thru-hull, O-ring
узнать
цену
узнать цену
13
5411174
Кольцо уплотнительное
узнать
цену
узнать цену
14
5431985
Деталь Nut, Shaft Hsg.
узнать
цену
узнать цену
{modalWnd}