OEM ЗАПЧАСТИ

  info@automotohub.ru   8 (916) 294-84-77
  О Компании   Оплата и Доставка   Помощь   Обратная связь

SUNROOF 4

для Volkswagen Passat (2005) GL 1.8L L4 - Gas
Volkswagen
SUNROOF 4
#кодцена
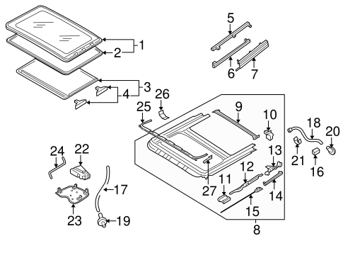
2
8D0-877-297
Деталь SUNROOF GLASS GASKET
COUPE,
PARTS: Part included with sunroof glass.
узнать
цену
узнать цену
7
8D0-877-781-B-01C
Деталь TRIM, LEFT
узнать
цену
узнать цену
8
4B5-877-049-B
Деталь FRAME ASSY
WAGON, MERTIOR TYPE
узнать
цену
узнать цену
9
8D0-877-633-C
Деталь DRIP CHANNEL
SEDAN
узнать
цену
узнать цену
12
8D5-877-152-A
Деталь GUIDE, RIGHT
COUPE, CENTER
PARTS: Part included with frame assembly.
узнать
цену
узнать цену
13
4B0-877-385
Деталь GUIDE, LEFT
WAGON, MERTIOR TYPE, REAR
PARTS: Part included with frame assembly.
узнать
цену
узнать цену
14
8D5-877-421
Деталь SPACER, LEFT
COUPE,
PARTS: Part included with frame assembly.
узнать
цену
узнать цену
16
8D5-898-652-A
Деталь DRIVE CABLE STOP, RIGHT
SEDAN, MERTIOR TYPE
узнать
цену
узнать цену
18
3B9-877-233-E
Деталь DRAIN HOSE, LEFT
WAGON, MERTIOR TYPE, REAR
узнать
цену
узнать цену
21
8D0-877-237
Деталь DRAIN HOSE CLIP
узнать
цену
узнать цену
25
8D5-877-655
Деталь DEFLECTOR
GOLDE, MERITOR
узнать
цену
узнать цену
26
8D5-898-671-A
Деталь DEFLECTOR MOUNT KIT
COUPE
узнать
цену
узнать цену
{modalWnd}