OEM ЗАПЧАСТИ

  info@automotohub.ru   8 (916) 294-84-77
  О Компании   Оплата и Доставка   Помощь   Обратная связь

DOOR & COMPONENTS 2

для Volkswagen Jetta (1990) GL 1.8L L4 - Gas
Volkswagen
DOOR & COMPONENTS 2
#кодцена
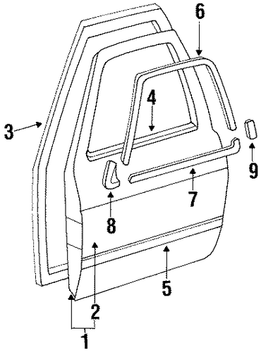
1
165-831-052-C
Деталь DOOR SHELL, RIGHT
2 DOOR
узнать
цену
узнать цену
2
191-831-105-A
Деталь OUTER PANEL, LEFT
2 DOOR
PARTS: Part is included in Door shell.
узнать
цену
узнать цену
2
191-831-106-A
Деталь OUTER PANEL, RIGHT
2 DOOR
PARTS: Part is included in Door shell.
узнать
цену
узнать цену
5
191-853-516-F-2BC
Деталь BODY SIDE MLDG, RIGHT
2 DOOR, GOLF, W/O WOLFSBURG
PARTS: Order by color.
узнать
цену
узнать цену
5
191-853-515-F-2BC
Деталь BODY SIDE MLDG, LEFT
2 DOOR, GOLF, W/O WOLFSBURG
PARTS: Order by color.
узнать
цену
узнать цену
5
191-853-516-D-2BC
Деталь BODY SIDE MLDG, LEFT
2 DOOR, GTI 16 VALVE
PARTS: Order by color.
узнать
цену
узнать цену
5
191-853-515-D-2BC
Деталь BODY SIDE MLDG, RIGHT
2 DOOR, GTI 16 VALVE
PARTS: Order by color.
узнать
цену
узнать цену
6
191-853-326
Деталь WINDOW MOLDING, RIGHT
2 DOOR
узнать
цену
узнать цену
6
191-853-325
Деталь WINDOW MOLDING, LEFT
2 DOOR
узнать
цену
узнать цену
7
191-853-283
Деталь REVEAL MOLDING, LEFT
2 DOOR, GOLF & GT
узнать
цену
узнать цену
8
191-853-230-D
Деталь JOINT, RIGHT
2 DOOR, FRONT, OUTER
узнать
цену
узнать цену
8
191-853-229-D
Деталь JOINT, LEFT
2 DOOR, FRONT, OUTER
узнать
цену
узнать цену
9
191-853-349
Деталь JOINT COVER
BLACK
узнать
цену
узнать цену
N/A
191-857-572
Деталь REINFORCEMENT, RIGHT
4 DOOR, MIRROR
узнать
цену
узнать цену
N/A
193-831-505
Деталь IMPACT BAR
4 DOOR
узнать
цену
узнать цену
N/A
191857571A
Деталь REINFORCEMENT, LEFT
4 DOOR, MIRROR
узнать
цену
узнать цену
N/A
191-831-505
Деталь IMPACT BAR
2 DOOR
узнать
цену
узнать цену
{modalWnd}