OEM ЗАПЧАСТИ

  info@automotohub.ru   8 (916) 294-84-77
  О Компании   Оплата и Доставка   Помощь   Обратная связь

POWERTRAIN CONTROL

для Toyota FJ Cruiser (2014) BASE 4 0l V6 Gas
Toyota
POWERTRAIN CONTROL
#кодцена
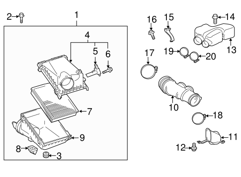
1
17700-31871
Деталь AIR CLEANER ASSY
2010-14
узнать
цену
узнать цену
2
91631-G0830
Деталь AIR CLEANER ASSY MOUNT BOLT
2010-14
узнать
цену
узнать цену
4
17705-31381
Деталь UPPER COVER
4.0 LITER
PARTS: Part included with air cleaner assembly.
узнать
цену
узнать цену
5
22204-0V010
Деталь AIR MASS SENSOR
4.0 LITER
PARTS: Part included with upper cover.
узнать
цену
узнать цену
6
90167-A0016
Деталь AIR MASS SENSOR SCREW
4.6 LITER
PARTS: Part included with cover assembly.
узнать
цену
узнать цену
7
17801-38051
Деталь ELEMENT
4.0 LITER
PARTS: Part included with air cleaner assembly.
узнать
цену
узнать цену
8
17743-50010
Клапан
2010-14
PARTS: Part included with air cleaner assembly.
узнать
цену
узнать цену
10
17881-31250
Шланг
4.0 LITER
узнать
цену
узнать цену
11
17971-31030
Деталь INLET DUCT
2010-14
узнать
цену
узнать цену
12
90119-A0147
Деталь INLET DUCT BOLT
2010-14
узнать
цену
узнать цену
13
17893-31130
Резонатор
4.0 LITER
узнать
цену
узнать цену
14
90119-A0160
Деталь SENSOR BOLT
2.5 LITER
узнать
цену
узнать цену
15
17894-31050
Деталь RESONATOR BRACKET
4.0 LITER
узнать
цену
узнать цену
16
90119-A0142
БОЛТ
4.0 LITER
узнать
цену
узнать цену
17
96111-31060
Зажим
4.0 LITER, #2
узнать
цену
узнать цену
18
96111-30900
Зажим
4.0 LITER, #1
узнать
цену
узнать цену
19
96111-10690
Деталь AIR HOSE CLAMP
TYPE 1
узнать
цену
узнать цену
20
96111-10750
Крепеж
4.6 LITER
узнать
цену
узнать цену
{modalWnd}