OEM ЗАПЧАСТИ

  info@automotohub.ru   8 (916) 294-84-77
  О Компании   Оплата и Доставка   Помощь   Обратная связь

FRONT DOOR

для Toyota Solara (2003) SE 2.4L L4 - Gas
Toyota
FRONT DOOR
#кодцена
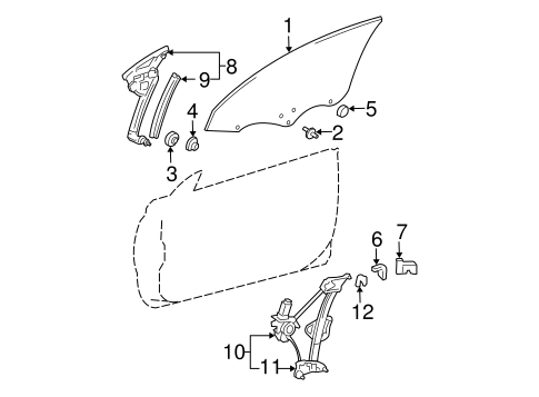
1
68101-06030
Деталь GLASS, RIGHT
TOYOTA
узнать
цену
узнать цену
1
68102-06030
Деталь GLASS, LEFT
TOYOTA
узнать
цену
узнать цену
2
69913-30090
Деталь STUD, LEFT
узнать
цену
узнать цену
3
90209-09005
Деталь DOOR GLASS WASHER, LEFT
LOWER, TYPE 2
узнать
цену
узнать цену
4
90179-A0006
Деталь QUARTER GLASS NUT
CONVERTIBLE, #1
PARTS: Part included with quarter glass.
узнать
цену
узнать цену
5
68147-30020
Деталь STOPPER, LEFT
ON GLASS
узнать
цену
узнать цену
6
67211-24020
Деталь WINDOW REGULATOR STOPPER, LEFT
узнать
цену
узнать цену
7
67235-33011
Деталь STABILIZER, RIGHT
узнать
цену
узнать цену
7
67236-33011
Деталь STABILIZER, LEFT
узнать
цену
узнать цену
8
67504-06010
Деталь GLASS RUN, LEFT
узнать
цену
узнать цену
8
67503-06010
Деталь GLASS RUN, RIGHT
узнать
цену
узнать цену
9
68141-06020
Деталь RUN CHANNEL, RIGHT
PARTS: Part included with glass run.
узнать
цену
узнать цену
10
69820-06031
Деталь WINDOW REGULATOR
CAMRY SOLARA; LEFT
узнать
цену
узнать цену
10
69810-06031
Деталь WINDOW REGULATOR
CAMRY SOLARA; RIGHT
узнать
цену
узнать цену
11
69801-06020
Деталь WINDOW REGULATOR
CAMRY; W/SOLARA; RIGHT
узнать
цену
узнать цену
11
69802-06020
Деталь WINDOW REGULATOR
CAMRY; W/SOLARA; LEFT
узнать
цену
узнать цену
12
63277-20050
Деталь REGULATOR SHIM, LEFT
2MM
PARTS: Order by thickness.
узнать
цену
узнать цену
{modalWnd}