OEM ЗАПЧАСТИ

  info@automotohub.ru   8 (916) 294-84-77
  О Компании   Оплата и Доставка   Помощь   Обратная связь

Аккумулятор

для Toyota Celica (1999) GT 2 2l L4 Gas
Toyota
Аккумулятор
#кодцена
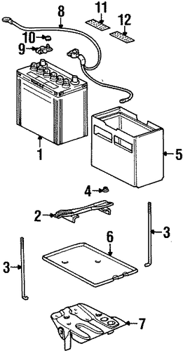
1
00544-35060-550
АКБ YTZ7SHE
CONVENTIONAL TYPE, W/SUNROOF
PARTS: Part listed for estimating purposes only, contact dealer for current part information.
узнать
цену
узнать цену
2
74404-20460
Деталь BATTERY HOLD DOWN
узнать
цену
узнать цену
3
74451-10060
Деталь HOLD DOWN BOLT
CONVENTIONAL, 2.0 LITER
узнать
цену
узнать цену
4
90080-18071
Деталь MIRROR ASSY NUT, RIGHT
узнать
цену
узнать цену
5
28899-74170
Крышка
узнать
цену
узнать цену
6
74431-20060
Деталь TRAY
узнать
цену
узнать цену
7
53771-20070
Суппорт
узнать
цену
узнать цену
8
82123-20240
Деталь NEGATIVE CABLE
узнать
цену
узнать цену
9
90982-05035
Деталь POSITIVE TERM
узнать
цену
узнать цену
10
90080-18070
Деталь STARTER NUT
узнать
цену
узнать цену
11
28897-26010
Деталь CAUTION LABEL
узнать
цену
узнать цену
12
28898-26010
Деталь BATTERY LABEL
JAPAN BUILT
узнать
цену
узнать цену
{modalWnd}