OEM ЗАПЧАСТИ

  info@automotohub.ru   8 (916) 294-84-77
  О Компании   Оплата и Доставка   Помощь   Обратная связь

TRUNK

для Toyota Celica (1989) GT 2.0L L4 - Gas
Toyota
TRUNK
#кодцена
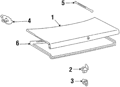
1
64401-2B070
Деталь TRUNK LID
COUPE, W/SPOILER
узнать
цену
узнать цену
1
64401-2B220
Деталь TRUNK LID
COUPE, W/O SPOILER
узнать
цену
узнать цену
1
64401-2B240
Деталь TRUNK LID
CONVERTIBLE
узнать
цену
узнать цену
2
64610-20090
ЗАМОК ЗАДНЕЙ ДВЕРИ ИЛИ КРЫШКИ БАГАЖНИКА
CELICA; COUPE
узнать
цену
узнать цену
2
64610-20100
Деталь LOCK
CELICA; CONVERTIBLE
узнать
цену
узнать цену
3
64621-20050
Деталь STRIKER
ST
узнать
цену
узнать цену
3
64610-20040
Деталь STRIKER
GT & GTS
узнать
цену
узнать цену
3
64621-20070
Деталь STRIKER
CONVERTIBLE
узнать
цену
узнать цену
4
64510-20121
Деталь HINGE, RIGHT
узнать
цену
узнать цену
4
64520-20111
Деталь HINGE, LEFT
узнать
цену
узнать цену
5
68950-29415
Деталь SUPPORT CYLINDER
W/O SPOILER
узнать
цену
узнать цену
5
68950-29425
Деталь SUPPORT CYLINDER
W/SPOILER
узнать
цену
узнать цену
6
64461-20230
Деталь WEATHERSTRIP
узнать
цену
узнать цену
N/A
64620-20040
Деталь STRIKER
CELICA; GT, GTS; COUPE
узнать
цену
узнать цену
N/A
64607-12230
Деталь RELEASE CABLE
CELICA
узнать
цену
узнать цену
N/A
69055-20210
ЦИЛИНДР ЗАМКА ЗАДНЕЙ ДВЕРИ ИЛИ КРЫШКИ БАГАЖНИКА
CELICA
узнать
цену
узнать цену
N/A
64620-20050
Деталь STRIKER
узнать
цену
узнать цену
{modalWnd}