OEM ЗАПЧАСТИ

  info@automotohub.ru   8 (916) 294-84-77
  О Компании   Оплата и Доставка   Помощь   Обратная связь

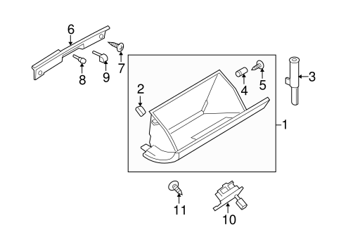
GLOVE BOX

для Suzuki Grand Vitara (2008) Base 2.7L V6 - Gas
Suzuki
{modalWnd}