OEM ЗАПЧАСТИ

  info@automotohub.ru   8 (916) 294-84-77
  О Компании   Оплата и Доставка   Помощь   Обратная связь

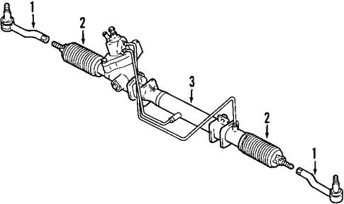
P/S PUMP & HOSES

для Suzuki XL-7 (2006) Base 2.7L V6 - Gas
Suzuki
P/S PUMP & HOSES
#кодцена
N/A
4911456B30
Комплект сальников
VITARA, GRAND VITARA, XL-7; POWER
узнать
цену
узнать цену
N/A
4910052D00
НАСОС ГИДРОУСИЛИТЕЛЯ РУЛЯ
узнать
цену
узнать цену
N/A
4923052D51
Деталь POWER STEERING PRESSURE HOSE
GRAND VITARA; POWER
узнать
цену
узнать цену
N/A
4921454J00
Деталь POWER STEERING SUCTION HOSE
XL-7; POWER
узнать
цену
узнать цену
N/A
4922054J50
Деталь POWER STEERING RETURN HOSE
XL-7; POWER
узнать
цену
узнать цену
{modalWnd}