OEM ЗАПЧАСТИ

  info@automotohub.ru   8 (916) 294-84-77
  О Компании   Оплата и Доставка   Помощь   Обратная связь

Вентилятор охлаждения

для Subaru BRZ (2016) Limited 2.0L H4 - Gas
Subaru
Вентилятор охлаждения
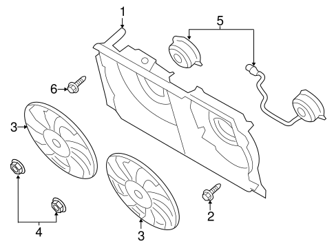
#кодцена
1
45122CA000
Защитный кожух
узнать
цену
узнать цену
2
904020008
Деталь フランジ スクリユ M5X11
узнать
цену
узнать цену
3
45121CA010
Деталь FAN BLADE, RIGHT
узнать
цену
узнать цену
3
45121CA000
Деталь FAN BLADE, LEFT
узнать
цену
узнать цену
4
023705000
Деталь フランジ ナツト
узнать
цену
узнать цену
5
45131CA000
Деталь FAN MOTOR, LEFT
узнать
цену
узнать цену
5
45131CA010
Деталь FAN MOTOR, RIGHT
узнать
цену
узнать цену
6
904020008
Деталь フランジ スクリユ M5X11
узнать
цену
узнать цену
{modalWnd}