OEM ЗАПЧАСТИ

  info@automotohub.ru   8 (916) 294-84-77
  О Компании   Оплата и Доставка   Помощь   Обратная связь

DRIVE AXLES

для Subaru Legacy (1996) GT 2.5L H4 - Gas
Subaru
DRIVE AXLES
#кодцена
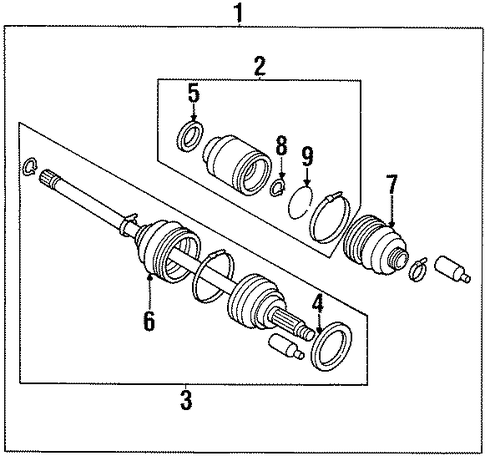
1
28021AC171
ПРИВОД ПЕРЕДНИЙ RH
AUTO TRANS
узнать
цену
узнать цену
1
28021AC080
Деталь AXLE ASSY
1996-99, 2WD, MANUAL TRANS
узнать
цену
узнать цену
1
SOA925H900R1
Деталь AXLE ASSY
MANUAL TRANS
узнать
цену
узнать цену
2
28092AA060
Деталь INNER CV JOINT
LEGACY; 2WD; MANUAL TRANS; W/O SVX
узнать
цену
узнать цену
2
28092AC020
Деталь INNER JOINT ASSY, RIGHT
MANUAL TRANS
PARTS: Part is included in axle assembly.
узнать
цену
узнать цену
2
28093AC000
Деталь INNER CV JOINT
LEGACY; 4WD; AUTO TRANS; W/O SVX
узнать
цену
узнать цену
3
28091AC000
Деталь OUTER CV JOINT
LEGACY; 2WD; MANUAL TRANS; W/O SVX
узнать
цену
узнать цену
3
28091AC050
Деталь OUTER CV JOINT
FORESTER; TO 6/97; MANUAL TRANS; W/O SVX
узнать
цену
узнать цену
3
28091AC060
Деталь OUTER CV JOINT
LEGACY; 4WD; AUTO TRANS; W/O SVX
узнать
цену
узнать цену
4
28037AA012
Деталь BAFFLE PLATE, LEFT
OUTER JOINT
PARTS: Part is included in outer joint assembly.
узнать
цену
узнать цену
5
23233GA071
Деталь BAFFLE PLATE, RIGHT
2.5 LITER, INNER JOINT, MANUAL TRANS
PARTS: Part included with inner joint assembly. Part included with axle assembly.
узнать
цену
узнать цену
6
28023AA002
Деталь OUTER BOOT, LEFT
PARTS: Part is included in axle assembly.
узнать
цену
узнать цену
7
28023PA010
Деталь INNER BOOT, RIGHT
1996-99, 2WD, MANUAL TRANS
PARTS: Part included with inner joint assembly. Part included with axle assembly.
узнать
цену
узнать цену
7
28023PA050
Пыльник
IMPREZA; W/STI
Order By Description.; W/O SVX
узнать
цену
узнать цену
7
28023AA011
Деталь INNER BOOT
2.5 LITER, MANUAL TRANS
PARTS: Part included with inner joint assembly. Part included with axle assembly.
узнать
цену
узнать цену
8
23245GA010
Деталь スナツプ リング
1996-99, MANUAL TRANS
PARTS: Part included with inner joint assembly. Part included with axle assembly.
узнать
цену
узнать цену
8
623205190
Деталь INNER JOINT ASSY SNAP RING, RIGHT
MANUAL TRANS
PARTS: Part is included in inner joint assembly.
узнать
цену
узнать цену
9
23224GA030
Деталь サ-クリツプ
1996-99, 2WD, MANUAL TRANS
PARTS: Part included with inner joint assembly. Part included with axle assembly.
узнать
цену
узнать цену
9
623206120
Деталь INNER JOINT ASSY C-CLIP, LEFT
MANUAL TRANS
PARTS: Part is included in inner joint assembly.
узнать
цену
узнать цену
9
623206070
Деталь INNER JOINT ASSY C-CLIP, LEFT
2WD
PARTS: Part included with outer joint assembly. Part included with axle assembly.
узнать
цену
узнать цену
{modalWnd}