OEM ЗАПЧАСТИ

  info@automotohub.ru   8 (916) 294-84-77
  О Компании   Оплата и Доставка   Помощь   Обратная связь

STABILIZER BAR & COMPONENTS

для Ram 1500 (2012) Laramie 5.7L V8 - Gas
Ram
STABILIZER BAR & COMPONENTS
#кодцена
1
55398938AC
Деталь STABILIZER BAR
4WD, 140 WHEELBASE
узнать
цену
узнать цену
1
68029454AB
Деталь STABILIZER BAR
4WD, 120 WHEELBASE
узнать
цену
узнать цену
2
52013697AA
Деталь BUSHINGS
DAKOTA
узнать
цену
узнать цену
2
52126350AA
Втулка стабилизатора
RAM 1500; 4WD; REGULAR CAB; 8 FT BOX
узнать
цену
узнать цену
3
52110141AB
Держатель
ASPEN
узнать
цену
узнать цену
4
6505961AA
Деталь STABILIZER BAR BOLT, RIGHT
2WD
узнать
цену
узнать цену
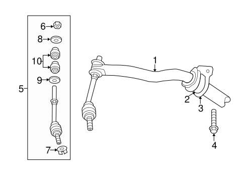
5
5170290AD
Деталь LINK
RAM 1500; 4WD
узнать
цену
узнать цену
6
6506746AA
Деталь STABILIZER LINK NUT, LEFT
PARTS: Part included with stabilizer link.
узнать
цену
узнать цену
7
6502835
Гайка М12
M12
узнать
цену
узнать цену
8
52038116
Деталь STABILIZER LINK UPPER RETAINER, LEFT
PARTS: Part included with stabilizer link.
узнать
цену
узнать цену
9
52038115
Деталь STABILIZER LINK LOWER RETAINER, LEFT
PARTS: Part included with stabilizer link.
узнать
цену
узнать цену
10
52037916
Деталь STABILIZER LINK GROMMET, LEFT
PARTS: Part included with stabilizer link.
узнать
цену
узнать цену
{modalWnd}