OEM ЗАПЧАСТИ

  info@automotohub.ru   8 (916) 294-84-77
  О Компании   Оплата и Доставка   Помощь   Обратная связь

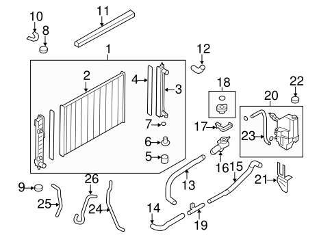
RADIATOR & COMPONENTS

для Nissan Murano (2014) LE 3.5L V6 - Gas
Nissan
RADIATOR & COMPONENTS
#кодцена
1
21460-1AA5A
Радиатор
MURANO; W/O CONVERTIBLE; FROM 11/10
узнать
цену
узнать цену
3
21463-1AA0A
Деталь TANK, LEFT
PARTS: Part included in radiator assembly.
узнать
цену
узнать цену
3
21412-1AA0A
Деталь TANK, RIGHT
PARTS: Part included in radiator assembly.
узнать
цену
узнать цену
4
21414-1AA0A
Деталь TANK SEAL, RIGHT
PARTS: Part included in radiator assembly.
узнать
цену
узнать цену
5
21444-1AA0A
Деталь DRAIN HOSE
PARTS: Part included in radiator assembly.
узнать
цену
узнать цену
6
21440-50Y00
Пробка сливная радиатора
PARTS: Part included with radiator assembly.
узнать
цену
узнать цену
7
21481-18000
Уплотнитель
PARTS: Part included with radiator assembly.
узнать
цену
узнать цену
8
21506-4M400
Втулка крепл. радиатора верхн.
узнать
цену
узнать цену
9
21507-1AA0B
Деталь RADIATOR ASSY LOWER INSULATOR, LEFT
узнать
цену
узнать цену
10
21542-CA000
Кронштейн радиатора
2.5 LITER
узнать
цену
узнать цену
11
21496-1AA1A
Деталь シ-ル,ラジエ-タ-
узнать
цену
узнать цену
12
21501-JP00B
Деталь UPPER HOSE
узнать
цену
узнать цену
13
21501-JP00C
Деталь UPPER HOSE
MURANO
узнать
цену
узнать цену
14
21503-JP00B
Деталь LOWER HOSE
узнать
цену
узнать цену
15
21503-JP00C
Деталь OUTLET HOSE
узнать
цену
узнать цену
16
21517-JP00A
Деталь パイプ
узнать
цену
узнать цену
17
21417-1AA0A
Адаптер
узнать
цену
узнать цену
18
21430-8991A
Крышка заливной горловины
2.5 LITER
узнать
цену
узнать цену
19
21537-JP00A
Деталь CONNECTOR PIPE
узнать
цену
узнать цену
20
21710-JP10A
Деталь RESERVOIR TANK
узнать
цену
узнать цену
21
21745-JP10A
Деталь RESERVOIR TANK BRACKET
узнать
цену
узнать цену
22
21712-79900
Крышка
PARTS: Part included with Recovery tank.
узнать
цену
узнать цену
23
21741-JP10A
Деталь OVERFLOW HOSE
PARTS: Part included with reservoir tank.
узнать
цену
узнать цену
24
21631-JP01A
Деталь COOLER LINE
UPPER
узнать
цену
узнать цену
25
21632-JP00A
Патрубок радиатора
LOWER, TO RADIATOR
узнать
цену
узнать цену
26
21632-1AA1A
Деталь COOLER LINE
LOWER, TO TRANS
узнать
цену
узнать цену
{modalWnd}