OEM ЗАПЧАСТИ

  info@automotohub.ru   8 (916) 294-84-77
  О Компании   Оплата и Доставка   Помощь   Обратная связь

SUNROOF

для Nissan Titan (2006) LE 5.6L V8 - Gas
Nissan
SUNROOF
#кодцена
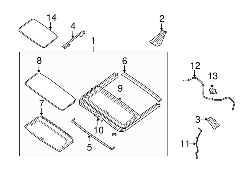
1
91205-7S21C
Деталь SUNROOF ASSY
W/SUNROOF
узнать
цену
узнать цену
2
76886-8S520
Деталь SUNROOF ASSY CENTER BRACKET
W/SUNROOF
PARTS: Part included with sunroof assembly.
узнать
цену
узнать цену
3
76892-7S010
Деталь SUNROOF ASSY SIDE BRACKET, RIGHT
W/SUNROOF
узнать
цену
узнать цену
4
91381-7S010
Деталь SIDE TRIM, LEFT
W/SUNROOF
узнать
цену
узнать цену
4
91380-7S010
Деталь SIDE TRIM, RIGHT
W/SUNROOF
узнать
цену
узнать цену
5
91280-7S010
Деталь AIR DEFLECTOR
W/SUNROOF
PARTS: Part included with sunroof assembly.
узнать
цену
узнать цену
6
91360-7S010
Деталь DRAIN
W/SUNROOF
PARTS: Part included with sunroof assembly.
узнать
цену
узнать цену
7
91250-7S01A
Деталь SUNSHADE
W/SUNROOF
PARTS: Part included with sunroof assembly.
узнать
цену
узнать цену
8
91210-7S010
Деталь SUNROOF GLASS
W/SUNROOF
PARTS: Part included with sunroof assembly.
узнать
цену
узнать цену
9
91306-7S212
Деталь SUNROOF FRAME
W/SUNROOF
PARTS: Part included with sunroof assembly.
узнать
цену
узнать цену
10
91295-7S210
Деталь MOTOR
W/SUNROOF
PARTS: Part included with sunroof assembly.
узнать
цену
узнать цену
11
91390-ZV50A
Деталь DRAIN HOSE, RIGHT
W/SUNROOF, FRONT
узнать
цену
узнать цену
12
91391-ZT00A
Деталь DRAIN TUBE, RIGHT
W/SUNROOF, REAR
узнать
цену
узнать цену
13
91361-8J000
Деталь クリツプ
W/SUNROOF, TYPE 1
узнать
цену
узнать цену
14
73967-7S010
Деталь WEATHERSTRIP
W/SUNROOF, SUNROOF
PARTS: Order by description.
узнать
цену
узнать цену
{modalWnd}