OEM ЗАПЧАСТИ

  info@automotohub.ru   8 (916) 294-84-77
  О Компании   Оплата и Доставка   Помощь   Обратная связь

Аккумулятор

для Nissan Sentra (1997) Base 1.6L L4 - Gas
Nissan
Аккумулятор
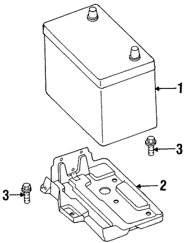
#кодцена
1
24410-F4300
АКБ YTZ7SHE
MEXICO BUILT
узнать
цену
узнать цену
1
999M1-AA35F
АКБ YTZ7SHE
узнать
цену
узнать цену
2
64860-4B000
Деталь TRAY
узнать
цену
узнать цену
3
01121-0006U
Деталь POSITIVE CABLE BOLT, RIGHT
узнать
цену
узнать цену
3
01121-0007U
Деталь POSITIVE CABLE BOLT, LEFT
узнать
цену
узнать цену
N/A
24077-4B005
Деталь ENGINE HARNESS
1.6 LITER, AUTO TRANS
PARTS: Positive cable is serviced as part of the engine wiring harness.
узнать
цену
узнать цену
N/A
24080-50Y01
Деталь NEGATIVE CABLE
1.6 LITER
узнать
цену
узнать цену
N/A
24077-4B000
Деталь ENGINE HARNESS
1.6 LITER, MANUAL TRANS
PARTS: Positive cable is serviced as part of the engine wiring harness.
узнать
цену
узнать цену
N/A
24080-4B900
Деталь NEGATIVE CABLE
SENTRA, 200SX; 1.6L
узнать
цену
узнать цену
{modalWnd}