OEM ЗАПЧАСТИ

  info@automotohub.ru   8 (916) 294-84-77
  О Компании   Оплата и Доставка   Помощь   Обратная связь

POWERTRAIN CONTROL 4

для Mitsubishi Eclipse (2010) GS 2.4L L4 - Gas
Mitsubishi
POWERTRAIN CONTROL 4
#кодцена
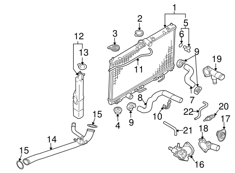
1
1350A065
Радиатор
2.4 LITER
узнать
цену
узнать цену
2
MR597126
Крышка радиатора
ECLIPSE; 2.4L
узнать
цену
узнать цену
3
1351A022
Деталь UPPER INSULATOR, LEFT
2.4 LITER
узнать
цену
узнать цену
4
MN135618
Деталь LOWER INSULATOR, RIGHT
2.4 LITER
узнать
цену
узнать цену
5
MB597892
Деталь RADIATOR ASSY DRAIN PLUG
PARTS: Part included with radiator assembly.
узнать
цену
узнать цену
6
MB007701
Кольцо уплотнительное, радиатора
2.4 LITER
PARTS: Part included with radiator.
узнать
цену
узнать цену
7
MN156402
Деталь UPPER HOSE
2.4 LITER
узнать
цену
узнать цену
8
MN156403
Деталь LOWER HOSE
2.4 LITER
узнать
цену
узнать цену
9
MR993229
ЗАЖИМ ТРУБОПРОВОДА РАДИАТОРА
2.4 LITER
узнать
цену
узнать цену
10
MN135248
Деталь LOWER HOSE CLIP
2.4 LITER
узнать
цену
узнать цену
11
MN180273
Деталь OVERFLOW HOSE
2.4 LITER
узнать
цену
узнать цену
12
MR597325
Деталь RESERVOIR
ECLIPSE; 2.4L
узнать
цену
узнать цену
13
1375A429
Крышка расширительного бачка радиатора
2.4 LITER
PARTS: Part included with reservoir tank.
узнать
цену
узнать цену
14
MN149064
Деталь パイプWポンプ
2.4 LITER, AUTO TRANS
узнать
цену
узнать цену
14
MN155162
ТРУБКА ВПУСКНАЯ ВОДЯНОГО НАСОСА
2.4 LITER, MANUAL TRANS
узнать
цену
узнать цену
15
MD030764
Кольцо уплотнительное
2.4 LITER
узнать
цену
узнать цену
16
MN149476
Деталь THERMOSTAT HOUSING
ECLIPSE; 2.4L
узнать
цену
узнать цену
17
MD315301
Термостат
2.4 LITER
узнать
цену
узнать цену
18
MN149478
Деталь WATER INLET
ECLIPSE; ALL; 2.4L
узнать
цену
узнать цену
19
MN163997
Деталь WATER OUTLET
2.4 LITER, AUTO TRANS
узнать
цену
узнать цену
19
MN183101
Деталь WATER OUTLET
2.4 LITER, MANUAL TRANS
узнать
цену
узнать цену
20
MD177572
Датчик температуры охл. жидкости
3000 GT
узнать
цену
узнать цену
21
MD326223
Шланг
2.4 LITER, THROTTLE BODY, FEED
узнать
цену
узнать цену
22
MD366384
Шланг
2.4 LITER, THROTTLE BODY, RETURN
узнать
цену
узнать цену
N/A
MR538851
Реле (4 контакта)
ECLIPSE
узнать
цену
узнать цену
N/A
MN153281
ДАТЧИК ДАВЛЕНИЯ ВО ВПУСКНОМ КОЛЛЕКТОРЕ
DIAMANTE
узнать
цену
узнать цену
N/A
1588A049
Деталь OXYGEN SENSOR
ECLIPSE; 2.4L; EXHAUST PIPE; LEFT
узнать
цену
узнать цену
N/A
1588A048
Деталь OXYGEN SENSOR
ECLIPSE; 2.4L; EXHAUST PIPE; RIGHT
узнать
цену
узнать цену
N/A
MD756706
ВТУЛКА МЕХ-МА ПРИВОДА СПИДОМЕТРА
ECLIPSE; MANUAL TRANS; 2.4L
узнать
цену
узнать цену
N/A
8631A878
Деталь ECM
ECLIPSE; 2.4L; AUTO TRANS; FROM 2/06; ALL; TO 3/11
узнать
цену
узнать цену
{modalWnd}