OEM ЗАПЧАСТИ

  info@automotohub.ru   8 (916) 294-84-77
  О Компании   Оплата и Доставка   Помощь   Обратная связь

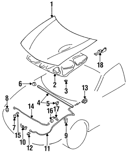
HOOD & COMPONENTS

для Mitsubishi Galant (1998) DE 2.4L L4 - Gas
Mitsubishi
{modalWnd}