OEM ЗАПЧАСТИ

  info@automotohub.ru   8 (916) 294-84-77
  О Компании   Оплата и Доставка   Помощь   Обратная связь

SUSPENSION COMPONENTS

для Mitsubishi Mirage (1996) LS 1.8L L4 - Gas
Mitsubishi
SUSPENSION COMPONENTS
#кодцена
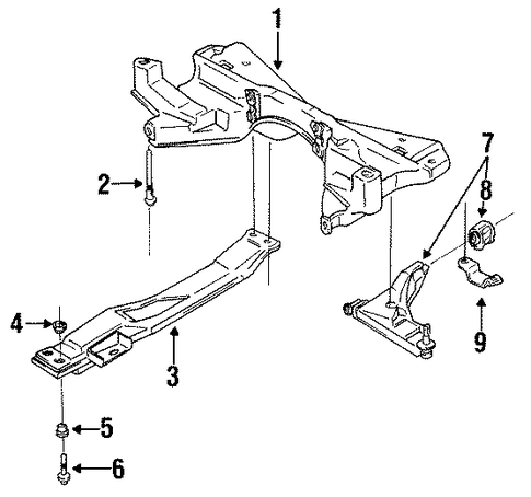
1
MB871412
БАЛКА ПОПЕРЕЧНАЯ ПЕРЕДНЕЙ ПОДВЕСКИ №1
узнать
цену
узнать цену
2
MR102861
Деталь SUSP CROSSMEMBER BOLT
узнать
цену
узнать цену
3
MR103245
Деталь CENTER C'MEMBER
2 DOOR
PARTS: Order by description.
узнать
цену
узнать цену
4
MB844445
ВТУЛКА ПОПЕРЕЧНОЙ БАЛКИ ПЕР.ПОДВЕСКИ
узнать
цену
узнать цену
5
MB844446
ВТУЛКА ПОПЕРЕЧНОЙ БАЛКИ ПЕР.ПОДВЕСКИ
узнать
цену
узнать цену
6
MB176661
Деталь CENTER C'MEMBER BOLT
FRONT
узнать
цену
узнать цену
7
MB912077
Деталь LOWER CONTROL ARM
MIRAGE; 1.8L; LEFT
Order By Description. Parts & Prices For Estimating Only. Includes: Ball Joint.
узнать
цену
узнать цену
7
MB912078
Деталь LOWER CONTROL ARM
MIRAGE; 1.8L; RIGHT
Order By Description. Parts & Prices For Estimating Only. Includes: Ball Joint.
узнать
цену
узнать цену
8
MB808910
Деталь BUSHINGS
MIRAGE; RIGHT; FROM 9/1/96
узнать
цену
узнать цену
8
MB808909
Деталь BUSHINGS
MIRAGE; LEFT; FROM 9/1/96
узнать
цену
узнать цену
9
MB808264
Держатель
MIRAGE
узнать
цену
узнать цену
{modalWnd}