OEM ЗАПЧАСТИ

  info@automotohub.ru   8 (916) 294-84-77
  О Компании   Оплата и Доставка   Помощь   Обратная связь

PUMP & HOSES

для Mazda 6 (2013) i 2.5L L4 - Gas
Mazda
PUMP & HOSES
#кодцена
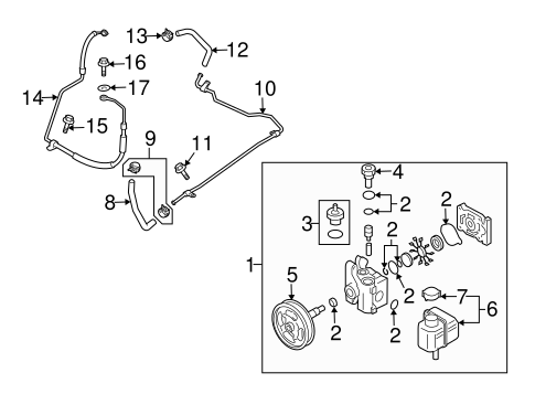
1
GS3L-32-650A
Деталь POWER STEERING PUMP
2.5 LITER
узнать
цену
узнать цену
2
GJ6A-32-610
Комплект сальников
MAZDASPEED3; POWER
узнать
цену
узнать цену
3
GK2A-32-230
ДАТЧИК ДАВЛЕНИЯ
MAZDA6; 2.5L; POWER
узнать
цену
узнать цену
4
GS3L-32-613
Клапан
2.5 LITER
PARTS: Part included with P/S pump.
узнать
цену
узнать цену
6
GS3L-32-690
Деталь POWER STEERING PUMP RESERVOIR
MAZDA6; 2.5L; POWER
узнать
цену
узнать цену
7
GS3L-32-691
Деталь RESERVOIR CAP
2.5 LITER
PARTS: Part included with reservoir assembly.
узнать
цену
узнать цену
8
GS3L-32-682C
Деталь POWER STEERING RETURN HOSE
MAZDA6; 2.5L; TO RESERVOIR; POWER
узнать
цену
узнать цену
9
GP7A-32-C19
Деталь UPR RETURN HOSE CLAMP
2.5 LITER
узнать
цену
узнать цену
10
GS3L-32-410B
Деталь RETURN PIPE
2.5 LITER
узнать
цену
узнать цену
11
9YA0-20-649
Деталь RETURN PIPE BOLT
2.5 LITER
узнать
цену
узнать цену
12
GS3L-32-684
Деталь POWER STEERING RETURN HOSE
MAZDA6; 2.5L; TO GEAR; POWER
узнать
цену
узнать цену
13
GP7A-32-C19
Деталь UPR RETURN HOSE CLAMP
2.5 LITER
узнать
цену
узнать цену
14
GS3L-32-420D
Деталь POWER STEERING PRESSURE HOSE
MAZDA6; 2.5L; POWER
узнать
цену
узнать цену
15
9YA0-20-649
Деталь RETURN PIPE BOLT
2.5 LITER
узнать
цену
узнать цену
16
GS3L-32-422
Деталь PRESSURE HOSE EYE BOLT
2.5 LITER
узнать
цену
узнать цену
17
9956-21-400
ПРОКЛАДКА ТУРБИНЫ
2.3 LITER
узнать
цену
узнать цену
{modalWnd}