OEM ЗАПЧАСТИ

  info@automotohub.ru   8 (916) 294-84-77
  О Компании   Оплата и Доставка   Помощь   Обратная связь

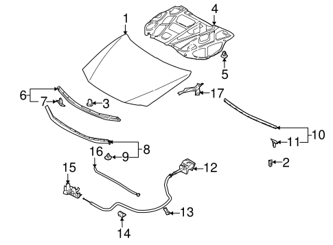
HOOD & COMPONENTS

для Mazda 6 (2008) i 2.3L L4 - Gas
Mazda
HOOD & COMPONENTS
#кодцена
1
GK2A-52-310D
Деталь HOOD
W/O MAZDASPEED
узнать
цену
узнать цену
2
GK2A-56-786B
Деталь HOOD BUMPER, RIGHT
ON BODY, W/O MAZDASPEED6
узнать
цену
узнать цену
3
BC1M-56-786
Упор капота
узнать
цену
узнать цену
4
GK2A-56-681B
Изолятор
W/O MAZDASPEED6
узнать
цену
узнать цену
5
GA2A-56-694
Деталь INSULATOR FASTENER
узнать
цену
узнать цену
6
GK2A-56-750B
Деталь FRONT SEAL
W/O MAZDASPEED6
узнать
цену
узнать цену
7
BC1D-58-762
Деталь フ-ドシ-ルラバ-クリップ
PARTS: Part included with front seal.
узнать
цену
узнать цену
8
GK2A-56-770D
Деталь FRONT W'STRIP
W/O MAZDASPEED6
узнать
цену
узнать цену
9
J001-56-741
Заклепка
PARTS: Part included with front weatherstrip.
узнать
цену
узнать цену
10
GK2A-56-760C
Деталь REAR W'STRIP
W/O MAZDASPEED6
узнать
цену
узнать цену
11
BC1D-58-762
Деталь フ-ドシ-ルラバ-クリップ
PARTS: Part included with front seal.
узнать
цену
узнать цену
12
GK2A-56-720J
Тросик открытия капота
W/O MAZDASPEED6
узнать
цену
узнать цену
13
BC5A-67-CC1
Деталь RELEASE CABLE CLIP
узнать
цену
узнать цену
14
GJ6A-56-731B
КРЕПЕЖ ТРОСА
NO. 2
узнать
цену
узнать цену
15
GJ6A-56-620E
Деталь LOCK
W/O ANTI THEFT
узнать
цену
узнать цену
15
GJ6E-56-620F
Деталь LOCK
W/ANTI THEFT, W/O MAZDASPEED6
узнать
цену
узнать цену
16
GK2A-56-651A
Деталь SUPPORT ROD
W/O MAZDASPEED6
узнать
цену
узнать цену
17
GK2A-52-410A
Деталь HINGE, RIGHT
W/O MAZDASPEED
узнать
цену
узнать цену
17
GK2A-52-420A
Деталь HINGE, LEFT
W/O MAZDASPEED
узнать
цену
узнать цену
{modalWnd}