OEM ЗАПЧАСТИ

  info@automotohub.ru   8 (916) 294-84-77
  О Компании   Оплата и Доставка   Помощь   Обратная связь

BUMPER & COMPONENTS - REAR

для Kia Soul (2016) Base 1.6L L4 - Gas
Kia
BUMPER & COMPONENTS - REAR
#кодцена
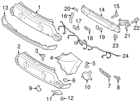
1
86611-B2020
БАМПЕР
W/O ELECTRIC, W/TWO TONE
PARTS: Order by application.
узнать
цену
узнать цену
1
86611-B2110
Деталь BUMPER COVER
W/O ELECTRIC, W/O TWO TONE
PARTS: Order by application.
узнать
цену
узнать цену
2
12210-06167B
Деталь BUMPER COVER SCREW, LEFT
W/O ELECTRIC
узнать
цену
узнать цену
3
86682-B2000
Деталь SIDE PANEL, RIGHT
W/O ELECTRIC
узнать
цену
узнать цену
3
86681-B2000
Деталь SIDE PANEL, LEFT
W/O ELECTRIC
узнать
цену
узнать цену
4
12442-05207B
ВИНТ-САМОРЕЗ КРЕПЛЕНИЯ ПАНЕЛИ БАМПЕРА D=7ММ ИЗ ЧЕРНЫХ МЕТАЛЛОВ ИЗ КОРР
#3
узнать
цену
узнать цену
5
13357-05037B
Деталь AIR DEFLECTOR NUT
PARTS: Part included with air deflector.
узнать
цену
узнать цену
6
86654-B2000
Деталь SIDE BRACKET, RIGHT
W/O ELECTRIC
узнать
цену
узнать цену
6
86653-B2000
Деталь SIDE BRACKET, LEFT
W/O ELECTRIC
узнать
цену
узнать цену
7
12442-06207B
Деталь SIDE BRACKET SCREW, LEFT
TO 05/01/14
узнать
цену
узнать цену
8
86617-B2000
Деталь TOW EYE CAP
W/O ELECTRIC
узнать
цену
узнать цену
9
92451-B2000
Деталь REFLECTOR, LEFT
W/O ELECTRIC
узнать
цену
узнать цену
9
92452-B2000
Деталь REFLECTOR, RIGHT
W/O ELECTRIC
узнать
цену
узнать цену
10
86690-B2000
Держатель
W/O ELECTRIC
узнать
цену
узнать цену
11
86590-28000
ФИКСАТОР ПАНЕЛИ БАМПЕРА
узнать
цену
узнать цену
12
86612-B2100
Деталь LOWER COVER
W/O ELECTRIC, W/O TWO TONE
узнать
цену
узнать цену
13
86631-B2010
Деталь IMPACT BAR
W/O ELECTRIC
узнать
цену
узнать цену
14
12493-05167E
Деталь BUMPER COVER BOLT
узнать
цену
узнать цену
15
86633-B2000
Деталь IMPACT BAR UPPER BRACKET
W/O ELECTRIC
узнать
цену
узнать цену
16
86635-B2010
Деталь IMPACT BAR LOWER BRACKET
W/O ELECTRIC
узнать
цену
узнать цену
17
86634-B2000
Деталь IMPACT BAR CENTER BRACKET
W/O ELECTRIC
узнать
цену
узнать цену
18
86636-B2010
Деталь IMPACT BAR SIDE BRACKET
W/O ELECTRIC
узнать
цену
узнать цену
19
0K2A1-50044
Деталь BUMPER COVER RETAINER NUT
узнать
цену
узнать цену
20
86641-B2010
Деталь STAY, LEFT
W/O ELECTRIC
узнать
цену
узнать цену
20
86642-B2010
Деталь STAY, RIGHT
W/O ELECTRIC
узнать
цену
узнать цену
21
11254-08256B
БОЛТ
узнать
цену
узнать цену
22
13395-08007K
Деталь REINF BEAM NUT
узнать
цену
узнать цену
23
91890-B2300
Провода
W/O ELECTRIC
узнать
цену
узнать цену
{modalWnd}