OEM ЗАПЧАСТИ

  info@automotohub.ru   8 (916) 294-84-77
  О Компании   Оплата и Доставка   Помощь   Обратная связь

EXTERIOR TRIM - TRUNK

для Kia Amanti (2009) BASE 3 8l V6 Gas
Kia
EXTERIOR TRIM - TRUNK
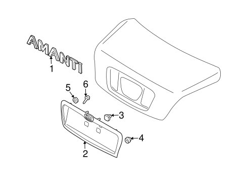
#кодцена
1
86310-3F510
Деталь NAMEPLATE
узнать
цену
узнать цену
2
87380-3F701
ПАНЕЛЬ КРЫШКИ БАГАЖНОГО ОТСЕКА
узнать
цену
узнать цену
3
92552-36000
Деталь LICENSE PANEL CLIP
узнать
цену
узнать цену
4
87359-3F500
Деталь LICENSE PANEL RETAINER NUT
узнать
цену
узнать цену
5
81564-3E000
ГАЙКА М6
узнать
цену
узнать цену
6
12496-04129B
ВИНТ-САМОРЕЗ D=4ММ
узнать
цену
узнать цену
{modalWnd}