OEM ЗАПЧАСТИ

  info@automotohub.ru   8 (916) 294-84-77
  О Компании   Оплата и Доставка   Помощь   Обратная связь

HIGH MOUNTED STOP LAMP

для Infiniti EX37 (2013) Base 3.7L V6 - Gas
Infiniti
HIGH MOUNTED STOP LAMP
#кодцена
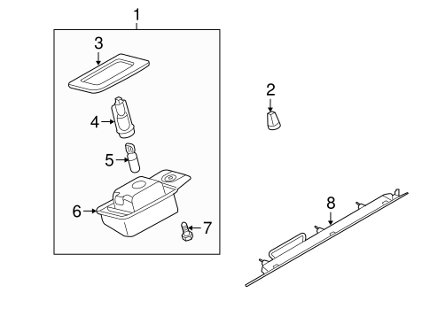
1
265108990B
ПОДСВЕТКА НОМЕРА
узнать
цену
узнать цену
2
0128101121
ЗАГЛУШКА ТЕХНОЛОГИЧЕСКИХ ОТВЕРСТИЙ ДЕТАЛ
узнать
цену
узнать цену
3
26513AG000
Деталь LICENSE LAMP PACKING, RIGHT
PARTS: Part included with license lamp.
узнать
цену
узнать цену
4
26251AG000
Деталь ライセンス ランプ ハ-ネス
PARTS: Part included with license lamp.
узнать
цену
узнать цену
5
2626189965
Лампа подсветки номерного знака
W/XENON
PARTS: Part included with headlamp assembly.
узнать
цену
узнать цену
7
0854041608
Деталь LENS SCREW, LEFT
PARTS: Part included with license lamp.
узнать
цену
узнать цену
8
265901BA0A
Деталь HIGH MOUNT LAMP
узнать
цену
узнать цену
{modalWnd}