OEM ЗАПЧАСТИ

  info@automotohub.ru   8 (916) 294-84-77
  О Компании   Оплата и Доставка   Помощь   Обратная связь

FENDER & COMPONENTS

для Infiniti I30 (1999) Base 3.0L V6 - Gas
Infiniti
FENDER & COMPONENTS
#кодцена
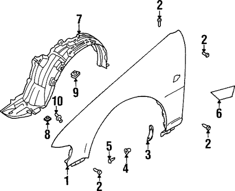
1
6310051U30
Деталь FENDER, RIGHT
узнать
цену
узнать цену
1
6310151U30
Деталь FENDER, LEFT
узнать
цену
узнать цену
2
083606122C
Деталь FENDER SCREW, LEFT
#1
узнать
цену
узнать цену
3
6383851U00
Деталь STONE GUARD, RIGHT
PARTS: Does not include plastic insert clip.
узнать
цену
узнать цену
3
6383951U00
Деталь STONE GUARD, LEFT
PARTS: Does not include plastic insert clip.
узнать
цену
узнать цену
4
0128100831
Втулка крепежная
#2
узнать
цену
узнать цену
5
0145100841
Саморез 5x15
узнать
цену
узнать цену
6
6387453U04
Деталь BODY SIDE MLDG, RIGHT
BLACK
PARTS: For colors not listed order by color.
узнать
цену
узнать цену
6
6387553U04
Деталь BODY SIDE MLDG, LEFT
BLACK
PARTS: For colors not listed order by color.
узнать
цену
узнать цену
6
638752L909
Деталь BODY SIDE MLDG, LEFT
DARK GREEN
PARTS: For colors not listed order by color.
узнать
цену
узнать цену
6
638742L909
Деталь BODY SIDE MLDG, RIGHT
DARK GREEN
PARTS: For colors not listed order by color.
узнать
цену
узнать цену
6
638742L912
Деталь BODY SIDE MLDG, RIGHT
BEIGE
PARTS: For colors not listed order by color.
узнать
цену
узнать цену
6
638752L912
Деталь BODY SIDE MLDG, LEFT
BEIGE
PARTS: For colors not listed order by color.
узнать
цену
узнать цену
7
638413L000
Деталь FENDER LINER, LEFT
узнать
цену
узнать цену
7
638403L000
Деталь FENDER LINER, RIGHT
узнать
цену
узнать цену
8
768820M000
КЛИПСА-КРЕПЕЖ ПЛ.
TYPE 2
узнать
цену
узнать цену
9
6384835F00
КЛИПСА-КРЕПЕЖ ПЛ.
#2
узнать
цену
узнать цену
10
015532DR9A
Клипса
узнать
цену
узнать цену
{modalWnd}