OEM ЗАПЧАСТИ

  info@automotohub.ru   8 (916) 294-84-77
  О Компании   Оплата и Доставка   Помощь   Обратная связь

EXTERIOR TRIM - TRUNK

для Hyundai Sonata (2016) Eco 1.6L L4 - Gas
Hyundai
EXTERIOR TRIM - TRUNK
#кодцена
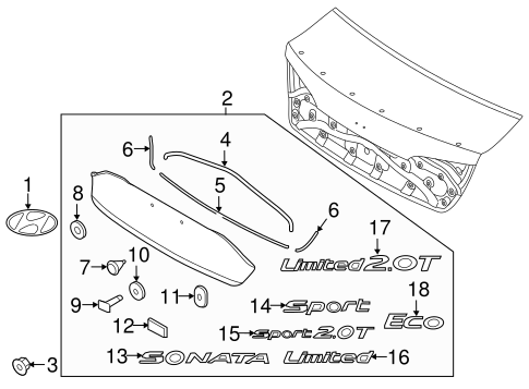
1
86300-C1000
Эмблема
узнать
цену
узнать цену
2
87370-C2000
Деталь REAR MOLDING
W/O SPORT, W/O LIMITED
узнать
цену
узнать цену
3
13270-05001
Деталь FINISH PANEL NUT
узнать
цену
узнать цену
4
87375-C1000
Деталь REAR MOLDING UPPER SEAL
PARTS: Part included with rear molding.
узнать
цену
узнать цену
5
87376-C1000
Деталь REAR MOLDING LOWER SEAL
PARTS: Part included with rear molding.
узнать
цену
узнать цену
6
87377-C1000
Деталь REAR MOLDING SIDE SEAL, LEFT
PARTS: Part included with rear molding.
узнать
цену
узнать цену
7
92552-36000
Деталь LICENSE PANEL CLIP
узнать
цену
узнать цену
8
87378-2T000
Деталь MOLDING ASSY O-RING
2014-16
PARTS: Part included with molding assembly.
узнать
цену
узнать цену
9
87313-C1000
Деталь REAR MOLDING BOLT
PARTS: Part included with rear molding.
узнать
цену
узнать цену
10
87379-C1000
Деталь REAR MOLDING WASHER
PARTS: Part included with rear molding.
узнать
цену
узнать цену
11
87379-C1100
Деталь REAR MOLDING SEAL
PARTS: Part included with rear molding.
узнать
цену
узнать цену
12
87372-22000
Деталь MOLDING ASSY SUPPORT
2014-16
PARTS: Part included with molding assembly.
узнать
цену
узнать цену
13
86310-C1000
Деталь NAMEPLATE
SONATA
PARTS: Part included with rear molding.
узнать
цену
узнать цену
{modalWnd}