OEM ЗАПЧАСТИ

  info@automotohub.ru   8 (916) 294-84-77
  О Компании   Оплата и Доставка   Помощь   Обратная связь

WIPER & WASHER COMPONENTS

для Hyundai Sonata (2014) GLS 2.4L L4 - Gas
Hyundai
WIPER & WASHER COMPONENTS
#кодцена
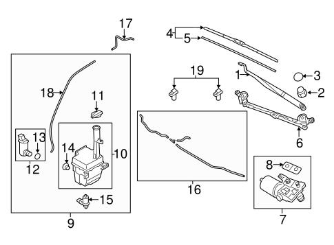
1
98321-3S000
Деталь WIPER ARM, RIGHT
узнать
цену
узнать цену
1
98311-3S500
Деталь WIPER ARM, LEFT
узнать
цену
узнать цену
2
98136-2B000
Деталь WIPER ARM NUT, LEFT
узнать
цену
узнать цену
3
98380-3N050
КОЛПАЧОК ГАЙКИ ДЕРЖАТЕЛЯ ЩЕТКИ СТЕКЛООЧИСТИТЕЛЯ
узнать
цену
узнать цену
4
98350-3S300
Деталь WIPER BLADE, LEFT
узнать
цену
узнать цену
4
U8890-00018-H
Деталь FRONT BLADE
ELANTRA; WAGON; RIGHT; W/AERO BLADE
узнать
цену
узнать цену
5
98361-3S000
Деталь WIPER BLADE INSERT, RIGHT
PARTS: Part included with wiper blade.
узнать
цену
узнать цену
5
98351-3S000
Деталь WIPER BLADE INSERT, LEFT
PARTS: Part included with wiper blade.
узнать
цену
узнать цену
6
98120-3Q000
Деталь WIPER LINKAGE
узнать
цену
узнать цену
7
98110-1U000
Деталь WIPER MOTOR
PARTS: Part included with linkage assembly.
узнать
цену
узнать цену
8
98160-0W000
Деталь WIPER MOTOR ARM
узнать
цену
узнать цену
9
98620-3V000
Деталь WASHER RESERVOIR
узнать
цену
узнать цену
10
98620-3V000
Деталь WASHER RESERVOIR
узнать
цену
узнать цену
11
98623-3S000
Деталь RESERVOIR CAP
PARTS: Part included with washer reservoir.
узнать
цену
узнать цену
12
98510-2G000
Деталь WASHER PUMP
TO 1-28-2014
PARTS: Part included with washer reservoir.
узнать
цену
узнать цену
13
98515-2G000
Деталь WASHER PUMP SCREEN
PARTS: Part included with washer pump.
узнать
цену
узнать цену
14
98622-14200
УПЛОТНИТЕЛЬНОЕ КОЛЬЦО БАЧКА ЖИДКОСТИ СТЕКЛООМЫВАТЕЛЯ
PARTS: Part included with reservoir.
узнать
цену
узнать цену
15
98520-3F000
Деталь LEVEL SENSOR
узнать
цену
узнать цену
16
98650-3S000
Деталь WASHER HOSE
UPPER
узнать
цену
узнать цену
17
98660-3S000
Деталь WASHER HOSE
CENTER
узнать
цену
узнать цену
18
9J700-31000
Деталь WASHER HOSE
LOWER
PARTS: Part included with washer reservoir.
узнать
цену
узнать цену
19
98630-3S000
Деталь WASHER NOZZLE, LEFT
узнать
цену
узнать цену
{modalWnd}