OEM ЗАПЧАСТИ

  info@automotohub.ru   8 (916) 294-84-77
  О Компании   Оплата и Доставка   Помощь   Обратная связь

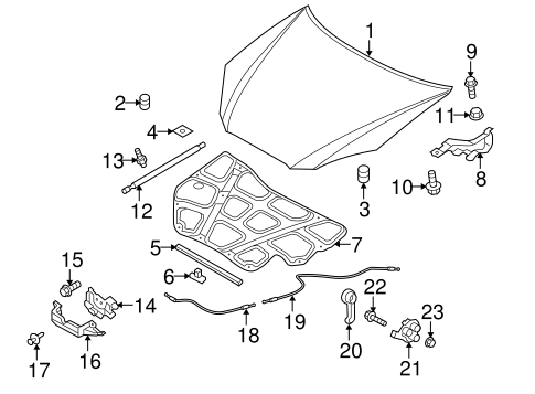
HOOD & COMPONENTS

для Hyundai Genesis Coupe (2012) 2.0T 2.0L L4 - Gas
Hyundai
HOOD & COMPONENTS
#кодцена
1
66400-2M000
Деталь HOOD
2010-12
узнать
цену
узнать цену
2
86410-29000
Деталь BUMPER, LEFT
FRONT, ON HOOD
узнать
цену
узнать цену
3
86410-2M000
Деталь HOOD BUMPER, RIGHT
2010-12, #2
узнать
цену
узнать цену
4
82191-38010
Деталь BUMPER, RIGHT
SIDE
узнать
цену
узнать цену
5
86456-2M000
Деталь FRONT SEAL
2010-12
узнать
цену
узнать цену
6
86438-4A100
Деталь FRONT SEAL CLIP, RIGHT
PARTS: Part included with retainer strip.
узнать
цену
узнать цену
8
79120-2M000
Деталь HINGE, RIGHT
2013-15
узнать
цену
узнать цену
8
79110-2M000
Деталь HINGE, LEFT
2013-15
узнать
цену
узнать цену
9
MB455-58225
Деталь HINGE BOLT, LEFT
узнать
цену
узнать цену
10
79152-22000
Деталь HINGE MOUNT BOLT, LEFT
TO HOOD
узнать
цену
узнать цену
11
13395-08007-K
Деталь BUMPER BRACKET NUT, LEFT
SEDAN
узнать
цену
узнать цену
12
81161-2M000
Деталь LIFT CYLINDER, LEFT
2010-12
узнать
цену
узнать цену
13
81163-38010
Деталь LIFTER BALL STUD, LEFT
узнать
цену
узнать цену
14
81130-2M000
Защёлка
2010-12, W/2.0 LITER
узнать
цену
узнать цену
15
11251-06166-B
Деталь DOOR CHECK BOLT, RIGHT
узнать
цену
узнать цену
16
81195-2M000
Деталь LATCH COVER
2010-12
узнать
цену
узнать цену
17
86590-28000
ФИКСАТОР ПАНЕЛИ БАМПЕРА
узнать
цену
узнать цену
18
81190-2M100
Деталь RELEASE CABLE
2010-12, FRONT
узнать
цену
узнать цену
19
81190-2M000
Деталь RELEASE CABLE
2010-12, REAR
узнать
цену
узнать цену
20
81181-2B000-9P
Деталь RELEASE HANDLE
2013-15
узнать
цену
узнать цену
21
81180-2B000
Деталь HANDLE BASE
узнать
цену
узнать цену
22
12431-06203
Деталь BASE SCREW
WAGON
узнать
цену
узнать цену
23
81385-3B000
Деталь HANDLE BASE RETAINER
COUPE
узнать
цену
узнать цену
{modalWnd}