OEM ЗАПЧАСТИ

  info@automotohub.ru   8 (916) 294-84-77
  О Компании   Оплата и Доставка   Помощь   Обратная связь

STRUTS & COMPONENTS

для Hyundai Tiburon (2008) GS 2.0L L4 - Gas
Hyundai
STRUTS & COMPONENTS
#кодцена
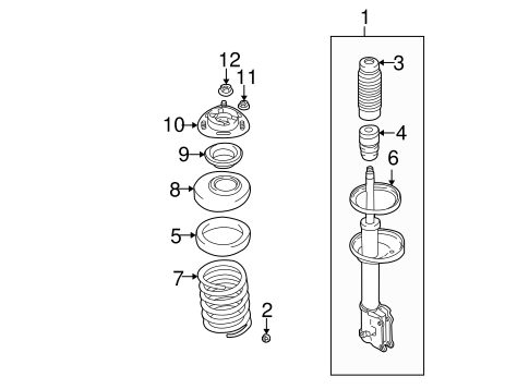
1
54651-2C250
АМОРТИЗАТОР Н-1 2.4Л
STANDARD SUSP.
PARTS: Order by description.
узнать
цену
узнать цену
1
54661-2C250
АМОРТИЗАТОР САНТА ФЕ 2.7Л
STANDARD SUSP.
PARTS: Order by description.
узнать
цену
узнать цену
1
54650-2C000
Деталь STRUT
SPORT SUSP.
PARTS: Order by description.
узнать
цену
узнать цену
1
54660-2C000
Деталь STRUT
SPORT SUSP.
PARTS: Order by description.
узнать
цену
узнать цену
2
13270-10007-K
ГАЙКА M6
узнать
цену
узнать цену
3
55325-29100
Деталь DUST SHIELD
ELANTRA
узнать
цену
узнать цену
4
54626-27000
ДЕМПФЕР СТОЙКИ АМОРТИЗАТОРА
TIBURON; W/O SPORT SUSPENSION
узнать
цену
узнать цену
5
54623-2C000
Деталь SPRING INSULATOR
TIBURON; UPPER
узнать
цену
узнать цену
6
54633-29000
ДЕМПФЕР ПРУЖИНЫ ПОДВЕСКИ
ELANTRA
узнать
цену
узнать цену
7
54630-2C120
Деталь SPRING, RIGHT
ALL
PARTS: Order by description.
узнать
цену
узнать цену
8
54620-2C000
Деталь SPRING SEAT
узнать
цену
узнать цену
9
54612-2C000
Подшипник опоры амортиз. передн.
узнать
цену
узнать цену
10
54610-2C000
Чашка переднего амортизатора 08-
узнать
цену
узнать цену
11
13386-10007-K
Деталь STABILIZER BAR NUT, RIGHT
узнать
цену
узнать цену
12
54559-17100
Деталь LOWER BALL JOINT NUT, LEFT
узнать
цену
узнать цену
N/A
55339-25000
Деталь CAP, RIGHT
узнать
цену
узнать цену
{modalWnd}