OEM ЗАПЧАСТИ

  info@automotohub.ru   8 (916) 294-84-77
  О Компании   Оплата и Доставка   Помощь   Обратная связь

STABILIZER BAR & COMPONENTS

для Hyundai Elantra (2006) GLS 2.0L L4 - Gas
Hyundai
STABILIZER BAR & COMPONENTS
#кодцена
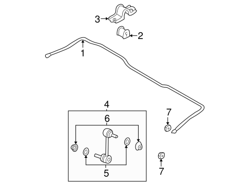
1
55511-2D100
Деталь STABILIZER BAR
W/ALLOY WHEELS
узнать
цену
узнать цену
1
55511-2D000
Деталь STABILIZER BAR
W/O ALLOY WHEELS
узнать
цену
узнать цену
2
55513-29020
Втулка стабилизатора
ELANTRA; SEDAN; W/O GT PACKAGE
узнать
цену
узнать цену
3
55514-29010
ОПОРНАЯ СКОБА ВТУЛКИ СТАБИЛИЗАТОРА, СПОСОБ ИЗГОТОВЛЕНИЯ КОМБИНИРОВАННЫ
ELANTRA; FROM 3/6/96
узнать
цену
узнать цену
4
55530-17010
СТОЙКА СТАБИЛИЗАТОРА
ELANTRA
узнать
цену
узнать цену
5
54838-36100
Деталь STABILIZER LINK CLIP, LEFT
узнать
цену
узнать цену
6
54837-36000
Деталь STABILIZER LINK DUST CAP, LEFT
PARTS: Part included with stabilizer link.
узнать
цену
узнать цену
7
13270-10001
ГАЙКА М40
узнать
цену
узнать цену
{modalWnd}