OEM ЗАПЧАСТИ

  info@automotohub.ru   8 (916) 294-84-77
  О Компании   Оплата и Доставка   Помощь   Обратная связь

DOOR & COMPONENTS

для Hyundai Elantra (2006) GLS 2.0L L4 - Gas
Hyundai
DOOR & COMPONENTS
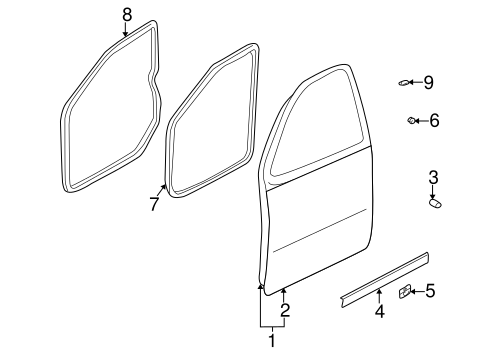
#кодцена
1
76003-2D052
Деталь DOOR SHELL, LEFT
узнать
цену
узнать цену
1
76004-2D032
Деталь DOOR SHELL, RIGHT
узнать
цену
узнать цену
2
76111-2D011
Деталь OUTER PANEL, LEFT
PARTS: Part included with door shell.
узнать
цену
узнать цену
2
76121-2D011
Деталь OUTER PANEL, RIGHT
PARTS: Part included with door shell.
узнать
цену
узнать цену
3
82191-33010
Деталь OVERSLAM BUMPER, LEFT
узнать
цену
узнать цену
4
82210-2D001
Деталь BELT W'STRIP, LEFT
узнать
цену
узнать цену
4
82220-2D001
Деталь BELT W'STRIP, RIGHT
узнать
цену
узнать цену
5
83219-22000
Деталь BELT W'STRIP CLIP, LEFT
3 DOOR
PARTS: Part included with belt weatherstrip.
узнать
цену
узнать цену
6
82135-3A000
Деталь DOOR W'STRIP CAP, LEFT
узнать
цену
узнать цену
7
82110-2D011
Деталь DOOR W'STRIP, LEFT
ON BODY, ALL
узнать
цену
узнать цену
7
82120-2D011
Деталь DOOR W'STRIP, RIGHT
ON BODY, ALL
узнать
цену
узнать цену
8
82140-2D000
Деталь DOOR W'STRIP, RIGHT
ON DOOR
узнать
цену
узнать цену
8
82130-2D000
Деталь DOOR W'STRIP, LEFT
ON DOOR
узнать
цену
узнать цену
9
82134-22000
Деталь DOOR W'STRIP CLIP, RIGHT
узнать
цену
узнать цену
{modalWnd}