OEM ЗАПЧАСТИ

  info@automotohub.ru   8 (916) 294-84-77
  О Компании   Оплата и Доставка   Помощь   Обратная связь

Обтекатель

для Hyundai Elantra (2006) GLS 2.0L L4 - Gas
Hyundai
Обтекатель
#кодцена
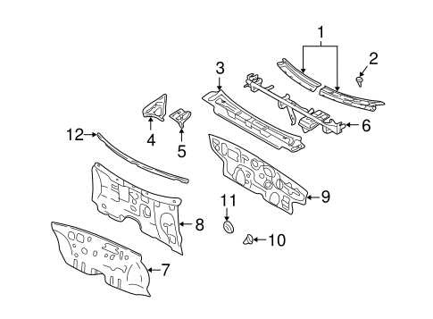
1
86150-2D101
Деталь COWL GRILLE, LEFT
узнать
цену
узнать цену
1
86160-2D101
Деталь COWL GRILLE, RIGHT
узнать
цену
узнать цену
2
86155-22000
Деталь COWL GRILLE RETAINER
узнать
цену
узнать цену
3
66701-2D011
Деталь COWL PANEL
узнать
цену
узнать цену
4
66755-2D010
Деталь COWL SIDE PANEL, LEFT
узнать
цену
узнать цену
4
66765-2D010
Деталь COWL SIDE PANEL, RIGHT
узнать
цену
узнать цену
5
66750-2D011
Деталь INNER SIDE PANEL, LEFT
SEDAN, FROM 7/13/00
узнать
цену
узнать цену
5
66760-2D011
Деталь INNER SIDE PANEL, RIGHT
SEDAN, FROM 7/13/00
узнать
цену
узнать цену
6
84410-2D210
Деталь CROSS BAR
ALL
PARTS: Order by description.
узнать
цену
узнать цену
8
84120-2D000
Изолятор
OUTER
узнать
цену
узнать цену
9
84124-2D050
Изолятор
INNER, AUTO TRANS
узнать
цену
узнать цену
9
84124-2D000
Изолятор
INNER, MANUAL TRANS
узнать
цену
узнать цену
10
86825-26000
Деталь FENDER LINER NUT, RIGHT
узнать
цену
узнать цену
11
84144-11000
Деталь INSULATOR PLUG
INNER
узнать
цену
узнать цену
12
84140-2D000
Деталь STRIP
ANTI-NOISE
узнать
цену
узнать цену
{modalWnd}