OEM ЗАПЧАСТИ

  info@automotohub.ru   8 (916) 294-84-77
  О Компании   Оплата и Доставка   Помощь   Обратная связь

BULBS - CHASSIS

для Hyundai Scoupe (1995) Base 1.5L L4 - Gas
Hyundai
BULBS - CHASSIS
#кодцена
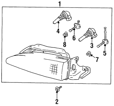
1
92102-23251
Деталь HEADLAMP ASSY, RIGHT
1993-95
узнать
цену
узнать цену
1
92101-23251
Деталь HEADLAMP ASSY, LEFT
1993-95
узнать
цену
узнать цену
2
86590-3S000
Деталь CENTER CONSOLE BOLT
W/O ARMREST
узнать
цену
узнать цену
3
18649-55009
Деталь FOG LAMP BULB, RIGHT
2004-06
PARTS: Part included in fog lamp assembly.
узнать
цену
узнать цену
4
18649-65009
Деталь HIGH BEAM BULB, RIGHT
1993-95
PARTS: Part is included in lamp assembly.
узнать
цену
узнать цену
5
92133-23250
Деталь ADJUSTER, RIGHT
1993-95, OUTER
PARTS: Part is included in lamp assembly.
узнать
цену
узнать цену
6
92132-23250
Деталь ADJUSTER, RIGHT
1993-95, INNER
PARTS: Part is included in lamp assembly.
узнать
цену
узнать цену
7
92135-23250
Деталь ADJUSTER RETAINER, RIGHT
1993-95, OUTER
PARTS: Part is included in lamp assembly.
узнать
цену
узнать цену
8
92190-24050
Кольцо
1990-91
узнать
цену
узнать цену
{modalWnd}